WP Tech
Benchmark.pl
Dobreprogramy.pl
Autokult.pl
Obserwuj nas na:
Popularne w serwisie
Polygamia
:
Rebel Wolves potwierdza. Dawnwalker to ich debiutancka gra
Assassin's Creed Red to potężna inwestycja Ubisoftu. Jest przeciek
DualSense V2 wycieka. Czyżby mocniejsza bateria?
Horizon Forbidden West na PC coraz bliżej. Nvidia wkracza do akcji
Imponująca sprzedaż Cyberpunk 2077: Phantom Liberty. Liczby mówią wszystko
Xbox Game Pass z mocnymi grami w styczniu. Potężne otwarcie roku
WP Tech
Benchmark.pl
Dobreprogramy.pl
Autokult.pl
Zaloguj
WAŻNE
TERAZ
Prezes Zondy budował neobank na Łotwie. Chciał pożyczek na kuriozalnych warunkach
sony
(strona 54 z 180)
Okej, muszę przyznać, nowy PlayStation Store jest ładny
I co ważniejsze, wydaje mi się, że chodzi także szybciej.
19 października 2012, 11:34
Zwolnienia u autorów Starhawka. Studio kończy z tworzeniem gier na konsole
Szef studia potwierdził, że jutro 24 pracowników studia LightBox straci pracę. Nie zostanie ono zamknięte, ale nie będzie już tworzyć gier na konsole. Co z przyszłością Starhawka?
18 października 2012, 14:38
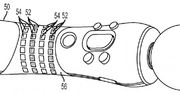
Sony patentuje kontroler zmieniający swoją temperaturę
Wyobraźcie sobie taką scenę: gracie w RPG, wasza postać bierze do ręki pochodnię, a wy, przed ekranem, czujecie ciepło na rękach. Fikcja? Może już niedługo.
17 października 2012, 15:09
Za scenariusz do Until Dawn odpowiedzialni są weterani amerykańskich horrorów
Podczas tegorocznych targów Gamescom, twórcy Until Dawn wspomnieli o znanych hollywoodzkich nazwiskach, które zajmą się scenariuszem do gry. Wtedy nie chcieli zdradzić szczegółów, dziś już wiemy
12 października 2012, 12:10
Nowe szaty PlayStation Store
Sony od jakiegoś czasu dawało do zrozumienia, że szykuję zmianę szaty graficznej swojego sklepiku. Miało być przede wszystkim czytelniej i przyjemniej dla oka. A jest tak.
11 października 2012, 12:55
Sony pozywa Kevina Butlera, byłą twarz PlayStation
Jerry Lambert, który przez lata wcielał się w Butlera w śmiesznych reklamówkach, producent opon Bridgestone oraz Sony spotkają się niebawem na sali rozpraw. Poszło o naruszenie praw do znaku handlowego.
7 października 2012, 13:50
Niedokończony łabędź jest już skończony, czyli The Unfinished Swan wreszcie z datą premiery
Jeśli lubicie gry inne niż wszystkie, to może być to jedna z najciekawszych produkcji tego roku.
5 października 2012, 16:02
Co czeka abonentów PlayStation Plus w październiku?
Kolejne hity za darmo.
2 października 2012, 17:35
Rzut okiem na nowe, odchudzone PS3
Sony postanowiło pokazać co znajdziemy w amerykańskim pudełku z nowym, odchudzonym PS3. Bohaterem jest oczywiście przede wszystkim mała czarna chudzina.
25 września 2012, 18:18
Dust 514 niedługo wyjdzie z fazy "beta"
Sieciowa strzelanina, która połączy zmagania wirtualnych żołnierzy ze światem Eve Online już niedługo zaprosi do zabawy nie tylko wybranych.
25 września 2012, 12:49
Biometryczne zabezpieczenia przyszłością konsol?
Wielki Brat patrzy. Tym razem chodzi o Sony i ich ujawnione właśnie patenty dotyczące bezpieczeństwa. Czy któregoś dnia bez przyłożenia palca do czytnika nie włączymy konsoli?
24 września 2012, 11:40
Sly Cooper powróci już w marcu
Gra ukazuje się na PS Vita i PS3, ale na szczęście nie trzeba jej dwa razy kupować.
22 września 2012, 18:37
Skrzydełko czy nóżka? Od przyszłego tygodnia sami wybieracie, którą porcję Starhawka kupicie
Sony znów postanowiło poeksperymentować. Pamiętacie rozdzielenie trybów jedno i wieloosobowych w Fight Night Champion na PSN? Starhawk czeka to samo.
21 września 2012, 09:40
Totalna demolka na zwiastunie PlayStation All-Stars: Battle Royale
Czekacie na PlayStation All-Stars Battle Royale? W takim razie przegląd wszystkich dostępnych w grze postaci na pewno podniesie Wam trochę temperaturę. Sporo się dzieje, oj sporo.
20 września 2012, 12:35
Zajrzyjcie za kurtynę magicznego teatru, a udzieli Wam się magia
Może jestem dziwny, ale od zapowiedzi na Gamescomie Puppeteer jest moim najmocniej wyczekiwanym exclusivem na PS3. Nawet mocniej, niż The Last of Us. Zwiastun z Tokyo Game Show tylko zaostrzył mój apetyt.
19 września 2012, 19:52
Soul Sacrifice opóźnione; na osłodę - zwiastun
Jedna z najlepiej zapowiadających się produkcji na Vitę i powód, dla którego tysiące fanów Demon i Dark Souls (a także Monster Huntera) mogłyby zaopatrzyć się w przenośną konsolę Sony, zaliczy obsuwę. Jest też i dobra wiadomość: pojawił się nowy materiał wideo z gry.
19 września 2012, 17:50
PlayStation Plus na PS Vita? Wystartuje już w listopadzie
Ale spokojnie, jeśli płacicie już za tę usługę na PS3, to nie będziecie musieli jej kupować drugi raz.
19 września 2012, 11:25
Nowe PS3 już oficjalnie - 12 GB pamięci flash i premiera w październiku
Sony, zgodnie z przypuszczeniami, zapowiedziało nowy model na swojej konferencji na targach Tokyo Game Show. Zobaczymy również nowe gry w serii PS3 Essentials.
19 września 2012, 10:01
Świetna wiadomość: Studio Liverpool żyje!
Pod koniec sierpnia wstrząsneła nami wiadomość o zamknięciu Studio Liverpool, zasłużonej ekipy znanej wcześniej jako Psygnosis. Jeśli wierzyć oficjalnemu Twitterowi firmy, żałoba była przedwczesna.
17 września 2012, 17:39
"Nowe PS3" w ofercie polskiego sklepu
Czyżby licznym plotkom miał nadejść kres i rzeczywiście niedługo w sklepach pojawi się nowy model?
16 września 2012, 18:15
LittleBigPlanet (PS Vita) - recenzja
Sony nie kłamało, kiedy chwaliło się, że gry na PlayStation Vita nie będą odbiegać jakością od tych na PS3.
12 września 2012, 17:01
Potrójna dawka Helghastów - Killzone Trilogy zapowiedziane
Już w przyszłym miesiącu do sklepów trafi zestaw trzech gier z flagowej serii strzelanin na platformy Sony.
6 września 2012, 16:44
Zabezpieczenia Sony uległy. PS Vita złamana
Celem osoby odpowiedzialnej za "otwarcie" oprogramowania Vity nie jest jednak uruchamianie pirackich kopii gier. Chodzi o scenę homebrew, niezwykle popularną chociażby na PlayStation Portable.
6 września 2012, 11:40
God of War: poznajcie nowe przeciwniczki Kratosa
Mam wrażenie, że twórcy mają pewien problem z nową odsłoną God of War. Po pięciu częściach serii Kratos wymordował już praktycznie wszystkich sławnych przedstawicieli mitologii greckiej. I skąd tu wziąć nowych?
4 września 2012, 10:55
Jeśli w przygodach Ratcheta najbardziej lubiliście strzelać, to Ratchet: Gladiator w HD się wam spodoba
Żadna inna gra z serii nie stawiała tak mocno na strzelaninę, ignorując jednocześnie elementy platformowe. Tak czy siak, gra powróci w wysokiej rozdzielczości i z działającym multiplayerem.
3 września 2012, 10:15
Poprzednie
1
…
53
54
55
…
180
Następne