WAŻNE
TERAZ

Karol Nawrocki w Radzie Pokoju? Jest nowy komunikat MSZ

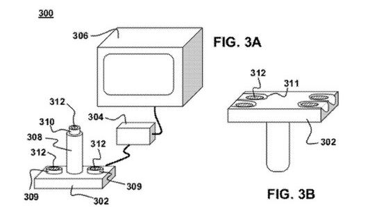
Biometryczne zabezpieczenia przyszłością konsol?

Wielki Brat patrzy. Tym razem chodzi o Sony i ich ujawnione właśnie patenty dotyczące bezpieczeństwa. Czy któregoś dnia bez przyłożenia palca do czytnika nie włączymy konsoli?

Obrazek
marcindmjqtx

Raczej ciężko mi uwierzyć, żeby gracze zgodzili się na takie rzeczy. Trudno jednak przejść obojętnie wobec pomysłu, który choć jest jedynie w fazie patentu (a jak sami wiecie, patentuje się nawet najdziwniejsze rzeczy), to brzmi - delikatnie mówiąc - niedorzecznie.

Wynika bowiem z niego, że Sony chciałoby dokładnie wiedzieć, kto używa ich produktów- takich jak telefony komórkowe, klawiatury, pady, czy konsole. "Process and Apparatus for Automatically Identifying User of Consumer Electronics" miałby bowiem kazać nam przykładać palec do specjalnego sensora, badającego nasze dane biometryczne - linie papilarne, geometria dłoni. Ale to nie koniec, mówi się również o rozpoznawaniu twarzy, skanerze siatkówki i tęczówki oka, skanowaniu głosu i analizie DNA.

Warto też zauważyć, jaki niebezpieczny potencjał daje to twórcom gier. Nigdy nie sprzedacie kopii przywiązanej do odcisku palca, a ban w grze online będzie bardziej bolesny, gdy dostaniecie go nie na konto czy numer IP, a na linie papilarne.

Ja wiem, że ukradziony sprzęt to nieprzyjemna sprawa i miło byłoby, gdyby złodziej nie mógł go w żaden sposób włączyć, ale gromadzenie danych dotyczących odcisków palców, skanów oka czy DNA, to już lekka przesada.  Proponuję jeszcze pobieranie krwi, moczu i kału, będzie komplecik.

Dokument możecie poczytać w tym miejscu.

źródło: Joystiq

Paweł Winiarski

Obrazek
Źródło artykułu:
Wybrane dla Ciebie
Rebel Wolves potwierdza. Dawnwalker to ich debiutancka gra
Rebel Wolves potwierdza. Dawnwalker to ich debiutancka gra
Assassin's Creed Red to potężna inwestycja Ubisoftu. Jest przeciek
Assassin's Creed Red to potężna inwestycja Ubisoftu. Jest przeciek
DualSense V2 wycieka. Czyżby mocniejsza bateria?
DualSense V2 wycieka. Czyżby mocniejsza bateria?
Horizon Forbidden West na PC coraz bliżej. Nvidia wkracza do akcji
Horizon Forbidden West na PC coraz bliżej. Nvidia wkracza do akcji
Imponująca sprzedaż Cyberpunk 2077: Phantom Liberty. Liczby mówią wszystko
Imponująca sprzedaż Cyberpunk 2077: Phantom Liberty. Liczby mówią wszystko
Xbox Game Pass z mocnymi grami w styczniu. Potężne otwarcie roku
Xbox Game Pass z mocnymi grami w styczniu. Potężne otwarcie roku
Star Wars Outlaws: wycieka termin premiery. Ubisoft dementuje
Star Wars Outlaws: wycieka termin premiery. Ubisoft dementuje
PS5 rozbija bank. Imponujące wyniki sprzedaży
PS5 rozbija bank. Imponujące wyniki sprzedaży
The Day Before za niespełna tysiąc złotych. Nie, to nie żart
The Day Before za niespełna tysiąc złotych. Nie, to nie żart
Hakerzy ujawnili plany Insomniac Games. Sześć gier na liście
Hakerzy ujawnili plany Insomniac Games. Sześć gier na liście
PS5 Pro z własnym DLSS. Nieoficjalne doniesienia o planach Sony
PS5 Pro z własnym DLSS. Nieoficjalne doniesienia o planach Sony
Nie będzie The Last of Us Multiplayer. To już pewne
Nie będzie The Last of Us Multiplayer. To już pewne
ZATRZYMAJ SIĘ NA CHWILĘ… TE ARTYKUŁY WARTO PRZECZYTAĆ 👀