WAŻNE
TERAZ

Prezes Zondy budował neobank na Łotwie. Chciał pożyczek na kuriozalnych warunkach

Sony patentuje kontroler zmieniający swoją temperaturę

Wyobraźcie sobie taką scenę: gracie w RPG, wasza postać bierze do ręki pochodnię, a wy, przed ekranem, czujecie ciepło na rękach. Fikcja? Może już niedługo.

Obrazek

Sony znienacka zgłosiło patent nowego kontrolera, który dawałby użytkownikowi możliwość poczucia różnych temperatur - zarówno niskich, jak i wysokich. W ten sposób moglibyśmy bardziej wczuć się w nasze postacie brnące przez śnieżycę lub obrywające kulą ognia.

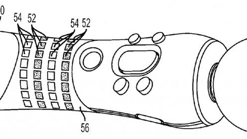
Na ilustracji dołączonej do patentu widać kontroler podobny do PS Move, a tytuł wniosku: "Temperature Feedback Motion Controller", zdradza, że chodzi o kontroler ruchowy. Nie jest wspomniana żadna konkretna technologia, która miałaby odpowiadać za jego działanie, ale obrazki prezentują kilka projektów kontrolera z różnymi "obudowami" odpowiedzialnymi za zmianę temperatury. Dla podkreślenie efektu miałby być też wyposażony w diody, które zmieniałyby kolory odpowiednio do temperatury - czerwony dla gorąca, żółty dla ciepła, niebieski dla zimna itp. Jest także pomysł na mały wentylator wydmuchujący zimne lub ciepłe powietrze. Według Sony nie musiałby to być nawet nowy kontroler, wystarczyłaby odpowiednia przystawka do starego.

fot. Free Patents Online via Gizmag

Oprócz wzmacniania wrażeń płynących z gry, kontroler miałby też bardziej praktyczne zastosowania - mógłby chłodzić rozgrzane i spocone ręce.

Zastanawia mnie, czy w padzie zmieściłby się układ układ, który zmieniałby temperaturę na tyle szybko, by oddać np. oparzenie ogniem czy upadek do lodowatej wody. I czy nie wpływałoby to na pracę reszty urządzenia. Ale pomysł jest intrygujący.

Co jakiś czas ktoś z twórców mówi o tym, że chciałby zaangażować więcej zmysłów w granie. Była już mowa o przystawkach emitujących zapachy - powstał nawet prototyp, nad smakiem chyba jeszcze nikt nie myślał (kto chciałby lizać pada?). Ciekawe, czy najpierw poczujemy ciepło wirtualnych ognisk, czy raczej ich zapach?

No i mam nadzieję, że do gier w stylu Syberii czy Lost Planet zaczną dodawać rękawiczki.

Paweł Kamiński

Obrazek
Źródło artykułu:
Wybrane dla Ciebie
Rebel Wolves potwierdza. Dawnwalker to ich debiutancka gra
Rebel Wolves potwierdza. Dawnwalker to ich debiutancka gra
Assassin's Creed Red to potężna inwestycja Ubisoftu. Jest przeciek
Assassin's Creed Red to potężna inwestycja Ubisoftu. Jest przeciek
DualSense V2 wycieka. Czyżby mocniejsza bateria?
DualSense V2 wycieka. Czyżby mocniejsza bateria?
Horizon Forbidden West na PC coraz bliżej. Nvidia wkracza do akcji
Horizon Forbidden West na PC coraz bliżej. Nvidia wkracza do akcji
Imponująca sprzedaż Cyberpunk 2077: Phantom Liberty. Liczby mówią wszystko
Imponująca sprzedaż Cyberpunk 2077: Phantom Liberty. Liczby mówią wszystko
Xbox Game Pass z mocnymi grami w styczniu. Potężne otwarcie roku
Xbox Game Pass z mocnymi grami w styczniu. Potężne otwarcie roku
Star Wars Outlaws: wycieka termin premiery. Ubisoft dementuje
Star Wars Outlaws: wycieka termin premiery. Ubisoft dementuje
PS5 rozbija bank. Imponujące wyniki sprzedaży
PS5 rozbija bank. Imponujące wyniki sprzedaży
The Day Before za niespełna tysiąc złotych. Nie, to nie żart
The Day Before za niespełna tysiąc złotych. Nie, to nie żart
Hakerzy ujawnili plany Insomniac Games. Sześć gier na liście
Hakerzy ujawnili plany Insomniac Games. Sześć gier na liście
PS5 Pro z własnym DLSS. Nieoficjalne doniesienia o planach Sony
PS5 Pro z własnym DLSS. Nieoficjalne doniesienia o planach Sony
Nie będzie The Last of Us Multiplayer. To już pewne
Nie będzie The Last of Us Multiplayer. To już pewne
MOŻE JESZCZE JEDEN ARTYKUŁ? ZOBACZ CO POLECAMY