Nowy system walki magicznej od Square Enix

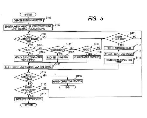
Kolejna ciekawostka z urzędu patentowego. Square Enix zarejestrowało system walki, w którym magia opierałaby się na układaniu klocków. Na ilustracji powyżej widzicie schemat, do którego trzeba dopasować spadające elementy. Można je oczywiście obracać, aby jak najefektywniej zapełnić planszę, a co za tym idzie wzmocnić swoje uderzenie. W rozwinięciu możecie przejrzeć jeszcze 2 dokumenty, które dokładnie opisują rzeczone walki. Podoba się to Wam? Ja nauczony Puzzle Questem już wiem, że puzzle i RPG pasują do siebie doskonale.

Obrazek
marcindmjqtx
Obrazek
Źródło artykułu:
Wybrane dla Ciebie
Rebel Wolves potwierdza. Dawnwalker to ich debiutancka gra
Rebel Wolves potwierdza. Dawnwalker to ich debiutancka gra
Assassin's Creed Red to potężna inwestycja Ubisoftu. Jest przeciek
Assassin's Creed Red to potężna inwestycja Ubisoftu. Jest przeciek
DualSense V2 wycieka. Czyżby mocniejsza bateria?
DualSense V2 wycieka. Czyżby mocniejsza bateria?
Horizon Forbidden West na PC coraz bliżej. Nvidia wkracza do akcji
Horizon Forbidden West na PC coraz bliżej. Nvidia wkracza do akcji
Imponująca sprzedaż Cyberpunk 2077: Phantom Liberty. Liczby mówią wszystko
Imponująca sprzedaż Cyberpunk 2077: Phantom Liberty. Liczby mówią wszystko
Xbox Game Pass z mocnymi grami w styczniu. Potężne otwarcie roku
Xbox Game Pass z mocnymi grami w styczniu. Potężne otwarcie roku
Star Wars Outlaws: wycieka termin premiery. Ubisoft dementuje
Star Wars Outlaws: wycieka termin premiery. Ubisoft dementuje
PS5 rozbija bank. Imponujące wyniki sprzedaży
PS5 rozbija bank. Imponujące wyniki sprzedaży
The Day Before za niespełna tysiąc złotych. Nie, to nie żart
The Day Before za niespełna tysiąc złotych. Nie, to nie żart
Hakerzy ujawnili plany Insomniac Games. Sześć gier na liście
Hakerzy ujawnili plany Insomniac Games. Sześć gier na liście
PS5 Pro z własnym DLSS. Nieoficjalne doniesienia o planach Sony
PS5 Pro z własnym DLSS. Nieoficjalne doniesienia o planach Sony
Nie będzie The Last of Us Multiplayer. To już pewne
Nie będzie The Last of Us Multiplayer. To już pewne
ZACZEKAJ! ZOBACZ, CO TERAZ JEST NA TOPIE 🔥