Branża o najnowszym patencie Nintendo

Patent Nintendo opisany przez nas wczoraj, który - w wielkim skrócie - ma umożliwić grze przechodzenie się samej za gracza (kiedy ten nie radzi sobie), wywołał wśród deweloperów mieszane odczucia. Ben Mattes z Ubisoftu stwierdził, iż:

Obrazek
marcindmjqtx

Przejrzałem patent na szybko i nie jestem pewny, czy go w pełni rozumiem. Ma on dla mnie sens w przypadku gier liniowych, jednak kiedy mówimy otwartych światach albo tytułach w jakimś stopniu z otwartym zakończeniem, ilość zmiennych mogłaby mocno ograniczyć potencjał tego systemu.

Dalej padł przykład Fallout 3. Otwarta forma tej gry mogłaby uniemożliwić w ogóle wprowadzenie patentu Nintendo albo narzucić graczowi jedno rozwiązanie. Mattes jednak nie przekreśla pomysłu, a jako przykład podobnych założeń podaje Prince of Persia, który pomaga casualom, a jest tytułem kojarzonym dotychczas z bardziej hardkorową grupą odbiorców.

Na coś innego zwraca uwagę Todd Howard z Bethesdy:

Większość ludzi rezygnuje z dalszego grania w dany tytuł, kiedy są sfrustrowani lub zdezorientowani tym, co gra każe im robić. Pomysł Nintendo stara się to zniwelować.Todd zostawił jednak najlepsze na koniec:

[...] Jestem naprawdę zadziwiony tym, co ludzie mogą w naszych czasach opatentować.Coś w tym jest, ale to temat na kompletnie oddzielną dyskusję. Kolejną, naprawdę ciekawą rzecz powiedział Jonathan Blow, twórca Braid:

Jeżeli, aby dostosować gry do szerszego grona, musimy tworzyć mechanizmy, które umożliwią ludziom przewinięcie najlepszej części [czyli samego grania], to oznacza, iż nasze medium jest do bani.Blow uważa, że najlepszym wyjściem z sytuacji będzie tworzenie gier pozbawionych tego typu problemu. Według niego nie można najpierw stworzyć ten problem, potem wymyślić na szybko rozwiązanie i liczyć, że ludzie będą się dalej dobrze bawić. Cóż, ja nie mogę się z tym do końca zgodzić i nie jestem do końca przekonany, że chciałbym żyć w czasach, w których gry byłyby przystosowane zarówno do mnie, jak i mojej babci. Tak czy siak, widać, że patent Nintendo naprawdę poruszył branżę.

[via Kotaku]

Aleksander Lemlich

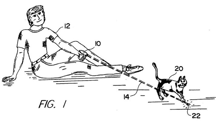
PS Obrazek na górze przedstawia patent polegający na wykorzystaniu wskaźnika laserowego do utrzymania kota w formie. Cholera, ciekawe komu jestem winny kasę za naruszenie jego pomysłu. Więcej szalonych patentów do zobaczenia tutaj.

Obrazek
Źródło artykułu:
Wybrane dla Ciebie
Rebel Wolves potwierdza. Dawnwalker to ich debiutancka gra
Rebel Wolves potwierdza. Dawnwalker to ich debiutancka gra
Assassin's Creed Red to potężna inwestycja Ubisoftu. Jest przeciek
Assassin's Creed Red to potężna inwestycja Ubisoftu. Jest przeciek
DualSense V2 wycieka. Czyżby mocniejsza bateria?
DualSense V2 wycieka. Czyżby mocniejsza bateria?
Horizon Forbidden West na PC coraz bliżej. Nvidia wkracza do akcji
Horizon Forbidden West na PC coraz bliżej. Nvidia wkracza do akcji
Imponująca sprzedaż Cyberpunk 2077: Phantom Liberty. Liczby mówią wszystko
Imponująca sprzedaż Cyberpunk 2077: Phantom Liberty. Liczby mówią wszystko
Xbox Game Pass z mocnymi grami w styczniu. Potężne otwarcie roku
Xbox Game Pass z mocnymi grami w styczniu. Potężne otwarcie roku
Star Wars Outlaws: wycieka termin premiery. Ubisoft dementuje
Star Wars Outlaws: wycieka termin premiery. Ubisoft dementuje
PS5 rozbija bank. Imponujące wyniki sprzedaży
PS5 rozbija bank. Imponujące wyniki sprzedaży
The Day Before za niespełna tysiąc złotych. Nie, to nie żart
The Day Before za niespełna tysiąc złotych. Nie, to nie żart
Hakerzy ujawnili plany Insomniac Games. Sześć gier na liście
Hakerzy ujawnili plany Insomniac Games. Sześć gier na liście
PS5 Pro z własnym DLSS. Nieoficjalne doniesienia o planach Sony
PS5 Pro z własnym DLSS. Nieoficjalne doniesienia o planach Sony
Nie będzie The Last of Us Multiplayer. To już pewne
Nie będzie The Last of Us Multiplayer. To już pewne
NIE WYCHODŹ JESZCZE! MAMY COŚ SPECJALNIE DLA CIEBIE 🎯